Регулирующие вентили GTVS/GTRS
(Regin)


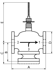
Двухходовые (GTVS) и трехходовые (GTRS) фланцевые вентили предназначены для регулирования расхода горячей и холодной воды в теплообменниках систем вентиляции, кондиционирования и отопления. Вентили GTVS/GTRS выпускаются в диапазоне от KVS=10 с присоединительным диаметром 25 мм до KVS=310 с присоединительным диаметром 150 мм. Регулирование у вентилей осуществляется с помощью возвратно-поступательного перемещения штока.

Двухходовой вентиль полностью открыт, когда шток находится в нижнем положении, и закрыт, когда шток находится в верхнем положении. Трехходовой вентиль перекрывает расположенные один напротив другого проходные отверстия 2 и 1, когда шток находится в верхнем положении. В этом же положении штока вентиль открыт между отверстиями 3 и 1. Если шток находится в нижнем положении, трехходовой вентиль полностью открыт между отверстиями 2 и 1 и закрыт между отверстиями 3 и 1. Вентили должны устанавливаться так, чтобы направление стрелки совпадало с направлением потока жидкости.

В зависимости от типа используемого привода RVAN вентили могут работать в режиме трехпозиционного или пропорционального (сигнал 0(2)–10 В или 4–20 мА) регулирования.

Максимальное рабочее давление 16 бар (1,6 МПа)
Температура рабочей среды от -5°С до +120°С
Максимальный перепад давления 0,15 - 1,6 МПа
Характеристика вентиля: -GTVS 2-ходовой
  -GTRS 3-ходовой
Вид регулирования квадратичный
Ход штока 20–40 мм
Максимальная утечка от величины KVS 0,1%
Рабочая среда горячая и холодная вода, раствор гликоля в воде
Материал: -корпус чугун
  -шток нержавеющая сталь
-седло и тарелка бронза
-уплотнение тефлон
.


Технические характеристики
Модель KVS* DN Размеры, мм Ход ∆P Тип привода Вес,
A B C D E штока, кПа 3-х позиц. Сигнал 0(2)-10В кг
мм   4-20мА  
Двухходовой
GTVS 32-16 16 32 180 - 135 140 150 20 1300 RVAN 10-24 RVAN 10-24A 13
GTVS 40-27 27 40 200 - 145 150 155 20 800 RVAN 10-24 RVAN 10-24A 17
GTVS 50-39 39 50 220 - 165 165 185 37 1000 RVAN 18-24 RVAN 18-24A 19
GTVS 65-63 63 65 260 - 190 185 200 24 600 RVAN 18-24 RVAN 18-24A 23
GTVS 80-100 100 80 280 - 205 200 205 36 400 RVAN 18-24 RVAN 18-24A 28
GTVS 100-160 160 100 320 - 220 220 215 36 250 RVAN 18-24 RVAN 18-24A 39
GTVS 125-215 215 125 370 - 250 250 225 40 170 RVAN 25-24 RVAN 25-24A 58
GTVS 150-310 310 150 420 - 270 285 265 40 120 RVAN 25-24 RVAN 25-24A 74
Трехходовой
GTRS 32-16 16 32 180 115 - 140 150 20 1300 RVAN 10-24 RVAN 10-24A 13
GTRS 40-27 27 40 200 125 - 150 155 20 800 RVAN 10-24 RVAN 10-24A 17
GTRS 50-39 39 50 220 145 - 165 185 37 1000 RVAN 18-24 RVAN 18-24A 21
GTRS 65-63 63 65 260 170 - 185 200 24 600 RVAN 18-24 RVAN 18-24A 25
GTRS 80-100 100 80 280 185 - 200 205 36 400 RVAN 18-24 RVAN 18-24A 31
GTRS 100-160 160 100 320 200 - 220 215 36 250 RVAN 18-24 RVAN 18-24A 42
GTRS 125-215 215 125 370 230 - 250 225 40 170 RVAN 25-24 RVAN 25-24A 62
GTRS 150-310 310 150 420 250 - 285 265 40 120 RVAN 25-24 RVAN 25-24A 78
 
* KVS вентиля указан в м3/час при перепаде давления 100 кПа.

Последнее обновление 26.03.15
Производитель оставляет за собой право вносить изменения в продукцию без предварительного уведомления.
Внешний вид и характеристики продукции могут отличаться от представленных на сайте.
Дополнения 18.12.17